继探索AR/VR驾乘娱乐体验之后,索尼要将汽车打造成娱乐平台
2022-01-24
索尼早前在CES 2022大会宣布即将成立索尼移动出行公司,并表示将利用传感、AI、通讯和音视频领域的索尼黑科技,从安全性,适应性和娱乐性视角打造未来的移动出行体验。这家公司相信,自动驾驶和5G技术有望将汽车转变为提供信息和娱乐服务的出行平台,从而重塑整个汽车行业。
日前,负责索尼电动汽车项目的索尼集团高级总经理川西泉澄表示,未来的汽车转型趋势将在一定程度上类似于信息技术将功能机转变为智能手机的过程,而索尼希望将汽车打造成一个娱乐平台。
实际上,团队早已在探索未来的驾乘娱乐体验,而一块重要基石是AR/VR。

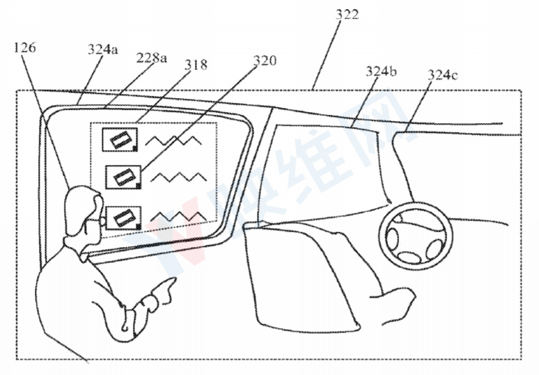
根据早前的专利申请,索尼已经围绕汽车和AR/VR的结合构思了相关的解决方案。例如名为“Display Control System And Method To Generate A Virtual Environment In A Vehicle”、“Active Window For Vehicle Infomatics And Virtual Reality”和“Display Control Of Interactive Content Based On Direction-Of-View Of Occupant In Vehicle”等发明,索尼就提出了一种在车内生成虚拟环境的显示控制系统和方法。具体来说,索尼希望将车窗和/或挡风玻璃变成增强现实显示屏,从而为用户带来全新的数字交互体验。
除了基于增强现实的车内娱乐体验外,虚拟现实同样可以成为一个重要的载体工具。例如,搭乘索尼汽车的用户可以同时穿戴索尼PSVR头显。然后,头显可以融合汽车的实时运动,并产生对应的全数字沉浸体验。
对不少人而言,搭乘汽车是相当无趣的体验,但通过虚拟现实和增强现实,车内空间可以瞬间变成新奇有趣的环境。例如,可以将车窗外的景色切换成青藏高原的沿途风光,或者基于汽车的实时运动提供相应的VR游戏等等。对于具体的效果,你可以参阅Holoride利用Pico头显构建的车内VR体验演示视频:
实际上,从微软到苹果,从福特到宝马,一批又一批的科技公司和汽车厂商都有为汽车搭乘体验构思基于AR/VR的娱乐系统。
随着索尼开始造车,AR/VR将能够帮助团队将汽车打造成一个移动的主题公园,并且成为一个重要的差异化优势。
原文来自https://news.nweon.com/93821
VR头显真的需要到180Hz吗?
2020-05-13
前HTC CEO周永明发布了一体式VR头显Mova
2020-05-27
全球首次!圆周率科技5G+VR直播带你“云登顶”世界屋脊
2020-05-28
数字化虚拟景区:未来必然趋势
2020-05-15
iPad Pro:HoloLens 2第三人称视角的最佳解决方案
2020-05-13