苹果AR眼镜可调整镜片以适合近视或老花用户使用
2022-01-12
戴眼镜的人在使用VR头显时还必须处理一些问题,因为他们的眼镜有可能无法舒适地装在狭窄的外壳里。一些VR头显提供了在设置中添加处方镜片的能力,但如果不进行大量的重新配置,该特定头显就不能被其他人使用。现在,据称苹果眼镜有可能被需要矫正视力的人使用,其镜片可以调整以矫正佩戴者的视力。

在周二授予苹果公司的一项名为“可调整和模糊的镜片系统”的专利中,苹果公司表示,智能眼镜或头显有可能调整其镜片以纠正佩戴者的视力,因此根本不需要用户佩戴带自己之前的眼镜。
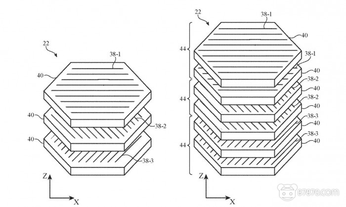
苹果公司的建议是为每只眼睛使用一叠镜片,这可以是一个液晶可调镜片,同时还有一个非液晶可调镜片,如充液镜片或阿尔瓦雷斯镜片。液晶透镜可以包括多个填充有电压调制光学材料的单元,夹在透明基片之间,周围有电极。叠加的透镜和电极可以对用户的视觉调整进行精细控制。电极用于向光学材料施加功率,调整其相位曲线,从而调整其允许光线通过的方式。可以使用多层电极,有三个或更多的方向,允许非常精确地调整该层,这取决于需要对视力进行何种修正。

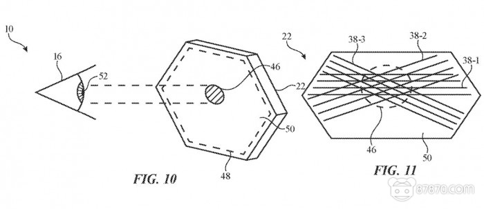
该系统还可以使用眼球追踪来为用户的视力提供更高级的调整。具体来说,它可以在镜片与用户的视线相交的地方调整镜片。该专利提出,老花眼等情况可以使这种安排进行处理,因为该系统可以通过应用不同的光功率,来纠正用户对远处物体的聚焦能力不足。苹果公司认为,限制调整的范围可以减少因放大率的变化而引起的迷惑性视觉感觉。这项技术还可以纠正被称为"高阶像差"的静态或依赖焦点的光学缺陷,这些缺陷用静态纠正视力的镜片不容易纠正,而追踪用户目光的可变相位镜片可以为用户的视力提供一些矫正。

苹果公司每周都会提交大量的专利申请,但尽管专利的存在表明该公司的研究和开发团队感兴趣的领域,但它并不保证其在未来产品或服务中出现。据信,苹果目前正在开发一系列头戴式设备,首先是可能在2022年推出的VR或AR头显。随后可能是具有AR功能的智能眼镜,即苹果眼镜,可能在2025年发布。
原文来自http://news.87870.com/hardware/2201/43676.html
VR头显真的需要到180Hz吗?
2020-05-13
前HTC CEO周永明发布了一体式VR头显Mova
2020-05-27
全球首次!圆周率科技5G+VR直播带你“云登顶”世界屋脊
2020-05-28
数字化虚拟景区:未来必然趋势
2020-05-15
iPad Pro:HoloLens 2第三人称视角的最佳解决方案
2020-05-13